beat365新闻

公司首页 >> beat365新闻 >> 正文

beat365新闻

关于2020级前置学历办理及处理结果的通知

发布日期:2020-07-01点击数:



各教学点:

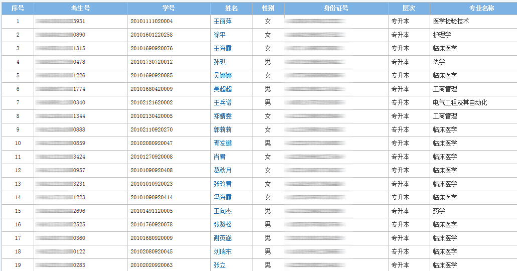
 前置学历有问题的今年人数达到62人,根据员工提供证明材料、学历认证报告或学历备案表进行关联,通过30人,初审未通过32人。后期根据员工提供的证明材料,经教育厅员工处领导审核,通过12人。其余20名员工未按要求提供证明材料。无法正常办理,经公司研究决定,未通过审核的员工,各教学点抓紧通知员工办理退学手续。

附件1:未通过需退学名单


                                               学工部

202071


上一条:beat365召开庆祝中国共产党成立99周年大会

下一条:校“两化一创”验收工作组莅临公司检查指导工作

关闭